Садржај
Када мотокултиватор за потребе домаћинства постаје мало, човек размишља о куповини мини трактора. Али трошак такве опреме почиње од 100 хиљада рубаља и не могу сви то приуштити. Овде се поставља питање како направити мини-трактор с властитим рукама уз минималне трошкове.
Припрема цртежа
Власници производе такве домаће производе од старих делова из аутомобила или преправљају мотокултиватор. Постоји много опција, а сваки дизајн је индивидуалан. У сваком случају, ако ћете преклопити мини-трактор, онда не можете без цртежа. На дијаграму обавезно назначите димензије оквира, локацију свих чворова и друге детаље. На фотографији предлажемо да видимо од чега се састоји мини трактор. Можете се надовезати на ову шему када развијате цртеж.
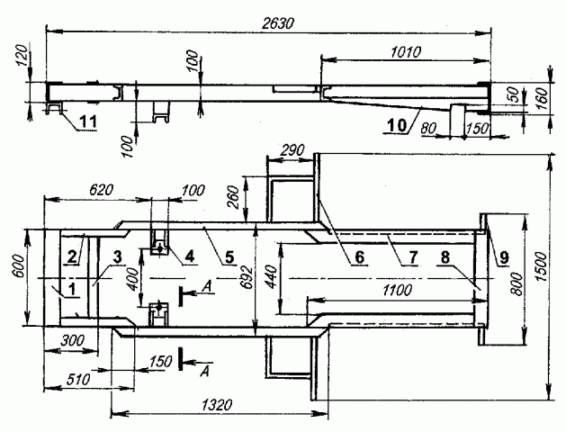
Оквир је темељ структуре. На њему су причвршћене све јединице мини трактора. Данас ћемо размотрити домаће мини трактор на једноделном оквиру, па на фотографији предлажемо да погледамо његов цртеж са димензијама јединица.
Састављање цртежа је обавезан корак, јер поступак састављања мини трактора захтева постављање свих делова узетих из друге опреме. Немогуће је запамтити све чворове, али према шеми увек ћете бити вођени и ићи у правом смеру. Поред тога, могу бити потребни и токарени радови. Гледајући цртеж, стругар ће већ моћи да има представу шта од њега желите.
Састављање мини трактора од старих делова аутомобила
Дакле, схватили смо важност цртежа и претпоставићемо да сте га већ нацртали. Сада морате припремити главне делове. Ту спадају: мотор, управљање и мењач. За производњу оквира требат ће вам канал или профилна цијев.
Израђујемо оквир
За домаћи мини трактор можете направити две врсте оквира:
- Сломљени оквир састоји се од две одвојене правоугаоне конструкције. Односно, заварена су два полуоквира. Они су међусобно повезани посебним механизмом - шарком. Конструкција је направљена од канала бр. 5 или бр. 9. У таквом мини трактору управљачки стуб је постављен на спој два елемента, а предњи точкови су окренути заједно са полуоквиром.
- Једноделни оквир је заварена конструкција са два бочна елемента и задњим и предњим попречним носачем. Канал бр. 10 и бр. 12 погодни су за њихову производњу. Да би се структура учврстила, преко оквира заварен је краткоспојник из профилне цеви. На једноделном оквиру, управљачки стуб управљаће само предњом осовином точковима.
Од две разматране опције, једноделни оквир је лакше произвести за мини трактор сопственим рукама, па је вредно зауставити се на њему.
Мотор и мењач
Избор мотора за домаћи мини трактор није велик. Слабе моторе морате одмах бацити, чак и ако их можете добити бесплатно. На крају, не треба вам непродуктиван трактор. Оптимално за такве домаће производе су погодни мотори УД-2 или УД-4. Карактерише их економична потрошња горива и добре перформансе. Једно- или двоцилиндрични дизелаши такође могу радити. Теже је добити мотор М-67. Ако сте то успели, тада је загарантован дуготрајни рад мини трактора. Поред тога, ова марка мотора је јефтина за одржавање.
Пре уградње на оквир, мотор треба побољшати. Прво се прво повећава преносни однос. Друго, мораћете сами да направите систем за ваздушно хлађење. За то је вентилатор повезан са радилицом.Око ножева постављено је висеће кућиште. Усмериће проток хладног ваздуха на мотор.
Када састављате јединице из делова аутомобила различитих марки, мораћете да извршите подешавања. Рецимо да су мењач и ПТО узети из ГАЗ-53, а квачило из ГАЗ-52. Да би се уклопили у њих, заварена је нова корпа квачила. На замајацу мотора, раван задњег дела је смањена, а у средини се буши нова рупа.
Избор управљача
Немогуће је сами направити управљач. Мораће да се уклони са старе опреме. Најједноставнија опција је пужни преносник. Ступ управљача стане у било који путнички аутомобил. На једноделном раму, предња осовина са точковима се окреће, стога је шипкама повезана са стубом. На сломљеном оквиру, зупчаник је заварен на предњу половину. Тачно такав део је причвршћен за управљачки стуб. Ротација предњег полуоквира биће изведена због квачила два степена преноса.
За бољу управљивост, домаћи мини трактор може бити опремљен јединицом са хидрауличним цилиндрима. Али да бисте циркулирали уље, мораћете додатно да инсталирате пумпу. Такав управљач не можете сами саставити. У потпуности се може уклонити само из пољопривредне опреме.
Осовине и точкови
Задња осовина мини трактора је погонска. Боље је узети из старог путничког аутомобила. Можда ћете морати да контактирате токара да бисте смањили осовинска вратила. Предња осовина не вози. Овај склоп се може направити од комада цеви постављањем лежајева на крајеве или на сличан начин уклонити са старе опреме.
Величина точкова се бира у зависности од тога шта ће радити домаћи мини трактор. За превоз терета и друге сличне радове, погодни су 16-инчни наплатци са гумама. Али најчешће се мини трактор саставља управо за обраду тла, садњу и жетву. У овом случају је важно оптимално пријањање гума са подлогом. Само 18-инчни или 24-инчни точкови могу пружити такве параметре.
Састављени мини трактор прво се увлачи без терета. Ако су тестови успешни, машина се може изнети на терен.
Ако сте заинтересовани за опцију мини-трактора са сломљеним рамом, погледајте представљени видео:
Претварање мотокултиватора у мини трактор
Ако код куће имате мотокултиватор, још лакше ћете преклопити домаћи мини трактор сопственим рукама, јер више није потребно тражити мотор и предње точкове. Посебно за такве измене продају се комплети који се састоје од свих потребних резервних делова. Да бисте је појефтинили, можете ићи истим путем као што је горе речено. Мораћете да уклоните потребне чворове са старе опреме.
Процес измене различитих марки мотоблокова разликује се због њихових дизајнерских карактеристика. Овде треба да пронађете индивидуално решење. Али, генерално, принцип израде домаћег мини трактора сличан је претходној верзији:
- Прво, оквир је заварен. Може бити чврста или зглобна.
- Важно је правилно саставити подвозје и одредити оптималну ширину колосека. Све зависи од локације мотора. Ако је инсталиран на предњој страни оквира, тада ширина стазе остаје изворна. Односно, користе се предњи точкови мотокултиватора. Задња осовина је направљена од челичне шипке или комада цеви. Причвршћен је на оквир, а на крајеве су утиснуте чауре са лежајевима за точкове.
- Са задњим мотором на оквиру, матична ширина колосека мотокултиватора је проширена. Ова радња је обавезна, јер је неопходно постићи стабилност мини трактора.Да бисте се боље ухватили за земљу, треба да направите ушице за домаћи трактор.
- Управљање ће изаћи чак и из изворних ручица. То се често практикује приликом прераде мотокултиватора марке МТЗ. Мини трактор је направљен на три точка, где се точак мотоцикла окреће сопственим ручкама. Међутим, ова опција је незгодна за вожњу уназад. На крају је оптимално зауставити се на управљачу путничког аутомобила. Возачко седиште је причвршћено за рам помоћу носача. Требали би да буду подесиви по висини и нагибу тако да човеку буде прикладно да ради.
Готов мини-трактор још треба улетјети и дати му терет.
Видео приказује пример претвореног мотокултиватора Нева у мини трактор:
Први пут је тешко самостално саставити мини трактор. Дефинитивно ће бити неких несавршености у дизајну. Они се могу исправити након идентификовања у процесу употребе технике.







